築40年の木造アパートを売却したら、突然「税務署」から“お尋ね”が届いたワケ【税理士が解説】
修繕費と資本的支出の区分
すべてが修繕費として経費や費用に計上することができるわけでなく、資本的支出に該当する場合には減価償却資産として資産計上します。では、どういった場合に資本的支出に該当するのでしょうか。
法令には、資本的支出は「使用可期間を延長させる」、あるいは「資産の価額を増加させる」と規定されていますが、その判断は通達や裁決等によって行います。通達には、修繕費は「通常の維持管理のため」のもの、資本的支出は「価値を高め、耐久性を増すため」のものと記載されています。いずれも概念的ですが、基本的な考え方です。さらに、通達には修繕費や資本的支出の例が挙げられており、物理的になにかを設置したり、用途を変更したりすると資本的支出に該当してきます。
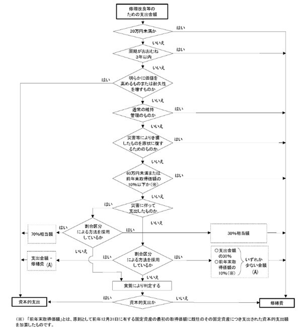
実務では、まず修繕費の金額が20万円未満であると修繕費として処理します。20万円以上である場合には、先ほどの基本的な考え方により、修繕費か資本的支出かを判断する必要が出てきます。それでも判断することができないときは、修繕費の金額が60万円未満であると修繕費として処理します。詳細は国税庁が作成しているフロー図がわかりやすいので利用してみるとよいでしょう。
修繕費と資本的支出の区分では、これまで行われた裁決も参考になります。
その他の税務上の注意点としては、フロー図の先頭にも記載されていますが、修理改良等のための支出という前提条件があるため、エアコンや給湯器等そのものを取り換えると修繕費に該当しないということです。固定資産を廃棄して新たに固定資産を取得したものと考えます。ただし、金額が30万円未満であることが多く、青色申告者は少額減価償却資産として経費や費用として処理することができます。
また、1つの修繕工事で金額が大きい場合でも、見積書の明細を確認すると、工事がわかれていたり、少額減価償却資産が入っていたりすることがあるので、必ず明細を確認するようにしてください。
参考
※1 民間賃貸住宅の 計画修繕 ガイドブック
https://www.mlit.go.jp/common/001231406.pdf
※2 No.1379 修繕費とならないものの判定
https://www.nta.go.jp/taxes/shiraberu/taxanswer/shotoku/1379.htm
川口 誠
MK Real Estate 税理士事務所 税理士
税理士


![[図表1]修繕費と資本的支出の区分](https://ggo.ismcdn.jp/mwimgs/a/e/540/img_aef1fdeea64fdd720e987508a36d6bf259428.jpg)
![[図表2]修繕費と資本的支出の区分に関係する判例](https://ggo.ismcdn.jp/mwimgs/9/3/540/img_939f37081f2f83a3d888b141ad172dbc48744.jpg)